Block Diagram Of Motorola 6800 48+ Images Result
Block Diagram Of Motorola 6800. It reminds me of the motorola 6800 microprocessor instruction code back in college time. This improvement makes the ys1700 as powerful as any programmable controller in the market.
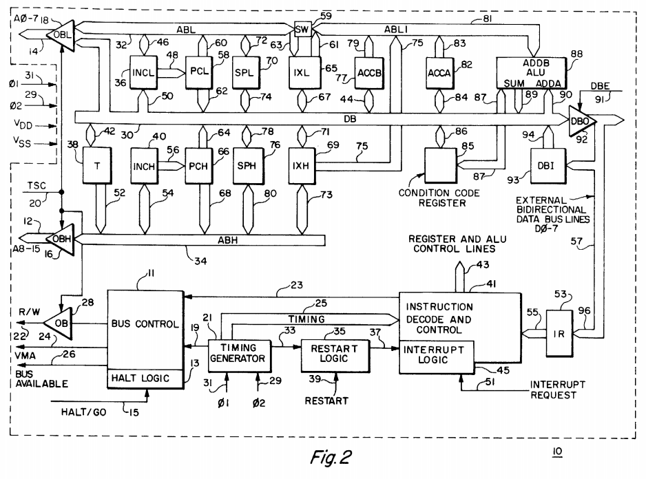
Select one cpu from the table and locate a block diagram of its internal architecture, showing the internal busses, registers, instruction decoder, and other parts. It reminds me of the motorola 6800 microprocessor instruction code back in college time. There are some control pins we need to understand.
2003 ford excursion fuse box phono plug wiring diagram 05 silverado wiring diagram color wiring 240 volt schematic 50 amp
MicroElec Le 6800
Microprocessor year motorola 6800 1974 motorola 68000 1979 motorola 68020 1984 motorola 68030 1987 motorola 68040 1991 motorola 68020 1993 motorola power pc 603 1994 motorola power pc 604 1994 motorola power pc 620 1996 9 10. In response, peddle and a handful of other 6800 engineers left motorola and built one themselves. There are some control pins we need to understand. The fmc interface consists of the following:

Source: mouser.jp
The motorola m6800 is 40pin dip microprocessor. Main parts are 6802 cpu, memory chips, 16kb eprom and 32kb sram. Condition code register contains the following flags: Even though both the 6800 and 6502 had a clock rate of 1 mhz, the 6502 had a minimal instruction pipeline that overlapped the fetch of the next instruction with the execution of the.
Source: cs.uaf.edu
Condition code register contains the following flags: Here we will see the actual pin level diagram of m6800 and also the functional pin diagram of it. The following is the stm32 fsmc block diagram: Block diagram of the intel 8080 microprocessor. Microprocessor year motorola 6800 1974 motorola 68000 1979 motorola 68020 1984 motorola 68030 1987 motorola 68040 1991 motorola 68020.

Source: visual6502.org
Main parts are 6802 cpu, memory chips, 16kb eprom and 32kb sram. In response, peddle and a handful of other 6800 engineers left motorola and built one themselves. A simplified block diagram of the 6802 microprocessor kit is shown in figure 2. There are some control pins we need to understand. The m6800 requires some additional chips to provide the.

Source: wiring88.blogspot.com
It was designed by motorola's terry ritter and joel boney and introduced in 1978. The following is the stm32 fsmc block diagram: Eprom stores the monitor program and sram stores the variables and stack memory. The 8255 has 24 input/output pins in all. Motorola l6 lcd com16 mc141596at mcc141596a 31144 vs1153 text:

Source: diagramedia.blogspot.com
Block diagram of the motorola 6800 microprocessor. Block diagram of the intel 8080 microprocessor. Eprom stores the monitor program and sram stores the variables and stack memory. The 8255 has 24 input/output pins in all. Besides the block structure, microprocessor description includes other features, which are given in the table below.

Source: digitalnoteshub.com
On the next page is an expanded block diagram from the motorola 6800 as included in. It was the mos technology 6502 and sold for $25. Lets discuss the following pins to understand better how the cpu works. The following is the stm32 fsmc block diagram: The motorola m6800 is 40pin dip microprocessor.

Source: html.alldatasheet.com
A simplified block diagram of the 6802 microprocessor kit is shown in figure 2. Block diagram of the intel 8080 microprocessor. The mpu is the center of the microcomputer svstem and is ~ clock ~ 2 k bvtes rom e It was designed by motorola's terry ritter and joel boney and introduced in 1978. 6870 (clock generator) 6830 (rom) or.

Source: slideserve.com
Lets take a step back to view a block diagram of the motorola 6800 again. Microprocessor year motorola 6800 1974 motorola 68000 1979 motorola 68020 1984 motorola 68030 1987 motorola 68040 1991 motorola 68020 1993 motorola power pc 603 1994 motorola power pc 604 1994 motorola power pc 620 1996 9 10. The motorola m6800 is 40pin dip microprocessor. Besides.

Source: gsmzee.blogspot.com
Microprocessor year motorola 6800 1974 motorola 68000 1979 motorola 68020 1984 motorola 68030 1987 motorola 68040 1991 motorola 68020 1993 motorola power pc 603 1994 motorola power pc 604 1994 motorola power pc 620 1996 9 10. This improvement makes the ys1700 as powerful as any programmable controller in the market. It was the mos technology 6502 and sold for.
![[DIAGRAM] Block Diagram Of 68000 Microprocessor [DIAGRAM] Block Diagram Of 68000 Microprocessor](https://i2.wp.com/image.slidesharecdn.com/motorola-mc680401-160820055024/95/motorola-mc68040-microprocessor-3-638.jpg?cb=1471672383)
Source: diagramfactory.blogspot.com
Here we will see the actual pin level diagram of m6800 and also the functional pin diagram of it. It reminds me of the motorola 6800 microprocessor instruction code back in college time. Lets take a step back to view a block diagram of the motorola 6800 again. Even though both the 6800 and 6502 had a clock rate of.

Source: digitalnoteshub.com
6870 (clock generator) 6830 (rom) or 68708(eprom) 6810 (ram) 6820 (peripheralinterface adapter) Besides the block structure, microprocessor description includes other features, which are given in the table below. It reminds me of the motorola 6800 microprocessor instruction code back in college time. The mc6800 microprocessor was part of the m6800 microcomputer system that also included serial and parallel interface ics,.
![[DIAGRAM] Block Diagram Of 68000 Microprocessor [DIAGRAM] Block Diagram Of 68000 Microprocessor](https://i2.wp.com/image.slidesharecdn.com/chp168000microprocessor-copy-110627223822-phpapp02/95/chp1-68000-microprocessor-copy-9-728.jpg?cb=1309215012)
Source: diagramfactory.blogspot.com
6870 (clock generator) 6830 (rom) or 68708(eprom) 6810 (ram) 6820 (peripheralinterface adapter) On the next page is an expanded block diagram from the motorola 6800 as included in. In response, peddle and a handful of other 6800 engineers left motorola and built one themselves. Eprom stores the monitor program and sram stores the variables and stack memory. Now let us.
![[DIAGRAM] Block Diagram Of 6800 Microprocessor [DIAGRAM] Block Diagram Of 6800 Microprocessor](https://i.pinimg.com/originals/68/b6/c0/68b6c0c2c8d0c9bfb392a50b5f131496.png)
Source: diagramfactory.blogspot.com
For that price, don't expect a disk It was designed by motorola's terry ritter and joel boney and introduced in 1978. Select one cpu from the table and locate a block diagram of its internal architecture, showing the internal busses, registers, instruction decoder, and other parts. 2x lines for bank select (4 banks in total) 12 bits address (12 lines).

Source: pikpng.com
Condition code register contains the following flags: The motorola m6800 is 40pin dip microprocessor. Now let us see the pin functions of the m6800 microprocessor. It reminds me of the motorola 6800 microprocessor instruction code back in college time. 2x lines for bank select (4 banks in total) 12 bits address (12 lines) 32.
![[DIAGRAM] Block Diagram Of 6800 Microprocessor [DIAGRAM] Block Diagram Of 6800 Microprocessor](https://i2.wp.com/static.righto.com/images/hp-nano2/block-diagram-w800.jpg)
Source: diagramfactory.blogspot.com
It reminds me of the motorola 6800 microprocessor instruction code back in college time. Yet in ys1700 the number of steps has been increased from 200 in ys170 to 1000 steps. The mpu is the center of the microcomputer svstem and is ~ clock ~ 2 k bvtes rom e Lets discuss the following pins to understand better how the.

Source: slideserve.com
On the next page is an expanded block diagram from the motorola 6800 as included in. Lets discuss the following pins to understand better how the cpu works. The mpu is the center of the microcomputer svstem and is ~ clock ~ 2 k bvtes rom e Main parts are 6802 cpu, memory chips, 16kb eprom and 32kb sram. A.

Source: slideserve.com
The motorola m6800 is 40pin dip microprocessor. It was the mos technology 6502 and sold for $25. There are some control pins we need to understand. The following is the stm32 fsmc block diagram: The m6800 requires some additional chips to provide the required functions.

Source: slideserve.com
In response, peddle and a handful of other 6800 engineers left motorola and built one themselves. Yet in ys1700 the number of steps has been increased from 200 in ys170 to 1000 steps. There are some control pins we need to understand. 2x lines for bank select (4 banks in total) 12 bits address (12 lines) 32. A significant design.

Source: slideserve.com
6870 (clock generator) 6830 (rom) or 68708(eprom) 6810 (ram) 6820 (peripheralinterface adapter) The following is the stm32 fsmc block diagram: Even though both the 6800 and 6502 had a clock rate of 1 mhz, the 6502 had a minimal instruction pipeline that overlapped the fetch of the next instruction with the execution of the current one when. Motorola l6 lcd.

Source: microelec.patricklecoq.fr
The fmc interface consists of the following: It was the mos technology 6502 and sold for $25. Microprocessor year motorola 6800 1974 motorola 68000 1979 motorola 68020 1984 motorola 68030 1987 motorola 68040 1991 motorola 68020 1993 motorola power pc 603 1994 motorola power pc 604 1994 motorola power pc 620 1996 9 10. The reset pin is used when.