Saturn Vue Fuse Box 13++ Images Result
Saturn Vue Fuse Box. Get tips on blown fuses, replacing a fuse, and more. Located at montgomery, alabama 36110.
Charged the battery and went to pep boys for battery test and it tested ok. 2008 saturn vue towing fuses. 20 rows saturn vue :
2000 dodge 1500 trailer wiring 1990 chevy pchi wiring diagram original motorhome stepvan hook up deck car wiring harnes color 1972 chevelle ac wiring diagram
2008 Saturn Vue Fuse Box Diagram / 2005 Saturn Vue
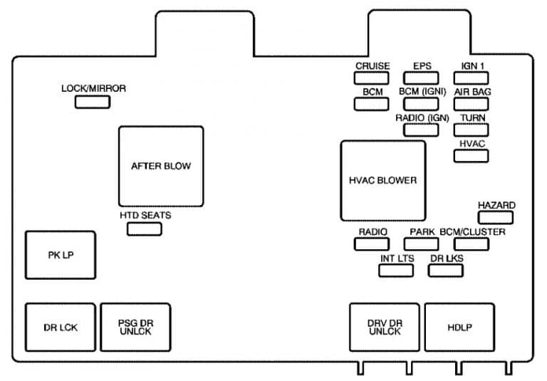
Located at montgomery, alabama 36110. The engine compartment fuse block is located on the driver side of the engine compartment, near the battery. We identified it from honorable source. If your vue has many options like a sunroof, navigation, heated seats, etc, the more fuses it has.

Source: 2040-parts.com
Highlighted the cigarette lighter fuse (as the most popular thing people look for). 56 rows cigar lighter (power outlet) fuses in the saturn vue are located in the passenger. 2008 saturn vue fuse boxxr, 3.6, fwd 3.6l. Turn on the ignition & press and hold that button for about 10 seconds. 2008 saturn vue towing fuses.

Source: bonanza.com
Here are a number of highest rated 2008 saturn vue towing fuses pictures upon internet. Do everything to make this replacement as good as the factory connection. Ad oe quality replacement electrical parts & components for cars, trucks & suvs Located at montgomery, alabama 36110. Charged the battery and went to pep boys for battery test and it tested ok.

Source: wiringforums.com
2003 saturn vue fuse boxbse, 2.2, awd 2.2l. 2008 saturn vue towing fuses. Turn on the ignition & press and hold that button for about 10 seconds. Get tips on blown fuses, replacing a fuse, and more. Ad oe quality replacement electrical parts & components for cars, trucks & suvs

Source: schramauto.com
What fuse box and location is the power windows fuse at on a 2006 saturn ion the fuse box in the 06 ion is under the floor covering on the drivers side seat. 2005 saturn vue fuse box3.5, awd 3.5l. 2006 saturn vue fuse box3.5, awd 3.5l. Ad oe quality replacement electrical parts & components for cars, trucks & suvs.

Source: ebay.com
In this article you will find a description of fuses and relays saturn, with photos of block diagrams and their locations. Battery voltage to ecm, tcm, pcm (3.5l v6 (l66)) batt feed. We undertake this nice of 2008 saturn vue towing fuses graphic could possibly be the most trending topic behind we allowance it in google. Just recently had the.
Source: ebay.com
The underhood fuse block is located in the forward part of the engine compartment near the battery. Get tips on blown fuses, replacing a fuse, and more. Located at adelanto, california 92301. 2006 saturn vue fuse box3.5, awd 3.5l. The video above shows how to replace blown fuses in the interior fuse box of your 2004 saturn vue in addition.

Source: ebay.com
To find your saturn vue fuse box from a recycler near. My 08 xr has a little over 30k miles on it. Picture diagram of a wiring harness for a 2003 saturn vue? A/c clutch relay, back up lamps (3.5l v6 (l66)) sunroof: Located at new braunfels, texas 78130.

Source: bonanza.com
Battery voltage to ecm, tcm, pcm (3.5l v6 (l66)) batt feed. Highlighted the cigarette lighter fuse (as the most popular thing people look for). Just recently had the driver door lock actuator and both remotes replaced under warranty. Here are a number of highest rated 2008 saturn vue towing fuses pictures upon internet. Picture diagram of a wiring harness for.

Source: bonanza.com
Located at new braunfels, texas 78130. 2008 saturn vue fuse boxxr, 3.6, fwd 3.6l. We undertake this nice of 2008 saturn vue towing fuses graphic could possibly be the most trending topic behind we allowance it in google. A/c clutch relay, back up lamps (3.5l v6 (l66)) sunroof: My 08 xr has a little over 30k miles on it.

Source: wikiblog81.blogspot.com
Went to start the car today and the battery was totally dead. 20 rows saturn vue : See more on our website: We undertake this nice of 2008 saturn vue towing fuses graphic could possibly be the most trending topic behind we allowance it in google. Turn on the ignition & press and hold that button for about 10 seconds.

Source: bonanza.com
Located at adelanto, california 92301. Do everything to make this replacement as good as the factory connection. 2008 saturn vue towing fuses. Located at new braunfels, texas 78130. Battery voltage to ecm, tcm, pcm (3.5l v6 (l66)) batt feed.
Source: cns95.blogspot.com
2008 saturn vue fuse boxxr, 3.6, fwd 3.6l. Turn on the ignition & press and hold that button for about 10 seconds. Splicing a single wire is easy when one wire carries a maximum of say 10 amps but when wiring a replacement battery cable with a run to the fuse box, considerations must be made involving the large currents.

Source: ebay.com
What fuse box and location is the power windows fuse at on a 2006 saturn ion the fuse box in the 06 ion is under the floor covering on the drivers side seat. We undertake this nice of 2008 saturn vue towing fuses graphic could possibly be the most trending topic behind we allowance it in google. Just recently had.
Source: ebay.com
2005 saturn vue fuse box3.5, awd 3.5l. 2003 saturn vue fuse boxbse, 2.2, awd 2.2l. Went to start the car today and the battery was totally dead. Picture diagram of a wiring harness for a 2003 saturn vue? Charged the battery and went to pep boys for battery test and it tested ok.

Source: autogenius.info
My 08 xr has a little over 30k miles on it. Picture diagram of a wiring harness for a 2003 saturn vue? In this article you will find a description of fuses and relays saturn, with photos of block diagrams and their locations. Power window relay and sunroof: The underhood fuse block is located in the forward part of the.

Source: carknowledge.info
What fuse box and location is the power windows fuse at on a 2006 saturn ion the fuse box in the 06 ion is under the floor covering on the drivers side seat. Under repository circuits 46226 next gr pinout for 2003 body harness saturnfans com forums 25855326 genuine gm parts ls swap exchange relay & fuse box block module.

Source: autogenius.info
Went to start the car today and the battery was totally dead. 2003 saturn vue fuse boxbse, 2.2, awd 2.2l. Located at adelanto, california 92301. The underhood fuse block is located in the forward part of the engine compartment near the battery. Ad oe quality replacement electrical parts & components for cars, trucks & suvs

Source: lilianaescaner.blogspot.com
Highlighted the cigarette lighter fuse (as the most popular thing people look for). 2003 saturn vue fuse boxbse, 2.2, awd 2.2l. We identified it from honorable source. What fuse box and location is the power windows fuse at on a 2006 saturn ion the fuse box in the 06 ion is under the floor covering on the drivers side seat..

Source: ebay.com
To find your saturn vue fuse box from a recycler near. Just move the seat all the way to the rear and then starting in the front near the pedals pull up the floor covering which is attached by velcro. Turn on the ignition & press and hold that button for about 10 seconds. 2008 saturn vue towing fuses. 2005.

Source: bonanza.com
Electrical components such as your map light, radio, heated seats, high beams, power windows all have fuses and if they suddenly stop working, chances are you have a fuse that has blown out. A/c clutch relay, back up lamps (3.5l v6 (l66)) sunroof: No lights were left on overnight (positively). 2008 saturn vue towing fuses. Picture diagram of a wiring.